Nie ste si istí, či sú vybrané zariadenia vhodné? Kliknite sem a vyplňte formulár, a náš poradca pripraví ponuku prispôsobenú vašim požiadavkám.

Elektromagnetický zámok R-3 812 12VAC/DC

Elektromagnetický zámok R-3 812 12VAC/DC
Elektromagnetický zámok R-3 812 12VAC/DC
  • Výrobca

    ŁUCZNIK
  • Kód produktu

    R-812

  • Záruka

    24 miesiące


Opýtajte sa na tento produkt zobraziť formulár

Súbory priložené k produktu zobraziť súbory

  • Dostupnosť: na sklade Dodanie 24h

Cena (s DPH):

11,72 €

Pridať do sledovaných

Najniższy koszt dostawy: 12,63 zł

Zastupujete rozpočtovú jednotku?
Skontrolujte možnosť využitia odkladanej platby.

CA Raty

Popis produktu

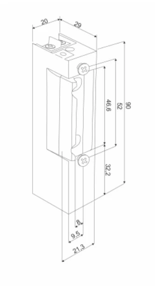
Elektrický vrátnik 812 sa používa na diaľkové otváranie dverí a brán, ľavých a pravých, ako aj dvojkrídlových dverí. Model 812 je vyrobený z hliníkovej zliatiny, povrchovo upravený práškovou farbou.

Elektromagnetická dverová závora je určená pre dvere a brány z kovových profilov, na spoluprácu so západkou alebo západkovým zámkom.

Závoru možno použiť s interkomovým systémom na vchodových dverách. Západka je vyrobená z materiálov odolných proti korózii, takže ju možno inštalovať aj vo vonkajšom prostredí, ale treba ju chrániť pred zaplavením, nátermi a nepriaznivými poveternostnými podmienkami.
Elektrická dverová západka má nastaviteľný jazyk. Západka je bez napätia v zatvorenom stave, po privedení napätia sa prepne do otvoreného stavu a v tomto stave zostáva, kým sa "dvere" nezatvoria.

Technické údaje:
  • Tolerancia: 7-14 V
  • Prúd: 0,35-0,7 A
  • Odpor: 15,5 Ohm

Szczegóły dotyczące zgodności produktu z przepisami: Osoba odpowiedzialna za produkt

Produkty z rovnakej kategórie

Zwora elektromagnetyczna zewnętrzna Scot EL-800WS o udźwigu 350 kg z wbudowaną sygnalizacją. Solidna konstrukcja zapewnia bezpieczeństwo i niezawodność w różnych warunkach atmosferycznych.

na sklade Dodanie 24/48h

Externý elektromagnetický závor 350kg so signalizáciou Scot EL-800WS

  • Povrchová montáž
  • Na vonkajšie použitie
  • Signalizácia - kontakt NO/NC
  • Informačná LED dióda

129,34 €

ks.

Pridať do sledovaných

Zaczep elektromagnetyczny w metalowej obudowie z widocznymi śrubami montażowymi. Urządzenie ma prostokątny kształt i metaliczne wykończenie.

na sklade Dodanie 24/48h

Elektromagnetický záves R4-12.11

  • Menovité napätie: 11 V ± 1 V DC
  • Použitie: Pravé dvere / ľavé dvere
  • Nastavenie vôľovej odchýlky: 3 mm

17,46 €

ks.

Pridať do sledovaných

Na zdjęciu znajduje się elektrozaczep symetryczny w metalicznej obudowie z widocznymi otworami montażowymi. Produkt jest przeznaczony do instalacji w drzwiach, zapewniając kontrolę dostępu.

na sklade Dodanie 24/48h

Symetrický elektrický západka ES-S12AC/DC PROFI

  • Symetrická elektrická dverová závora
  • Štandardizovaná upevňovacia lišta je súčasťou dodávky
  • Nastavenie jazyka západkou
  • Univerzálne napájanie

25,96 €

szt

Pridať do sledovaných

Uchwyt montażowy typu L do drzwi przesuwnych, wykonany z metalu, z otworami montażowymi. Produkt jest w kolorze srebrnym i ma prostokątny kształt z wygięciem w kształcie litery L.

na sklade Dodanie 24/48h

L-typ montážny držiak pre dvere otvárané von Scot BK-350WL

  • Montáž prepojky EL-350WS

12,41 €

ks.

Pridať do sledovaných

Zwora elektromagnetyczna 2 x 750kg z sygnalizacją Scot EL-1500DSL przedstawia solidną konstrukcję z dwoma elektromagnesami. Produkt zapewnia wysoką siłę trzymania i jest wyposażony w funkcję sygnalizacji.

na sklade Dodanie 24/48h

Elektromagnetická závora 2 x 750kg so signalizáciou Scot EL-1500DSL

  • Dvojitý skokanský mostík
  • Povrchová montáž
  • Signalizácia - kontakt NO/NC
  • Informačná LED dióda

350,33 €

ks.

Pridať do sledovaných

Uchwyt montażowy typu ZL do drzwi. Metalowa konstrukcja z otworami montażowymi.

na sklade Dodanie 24/48h

Montážny držiak typu ZL pre dvere otvárané dovnútra Scot BK-600WZL

  • Montáž prepojky EL-600WS

30,09 €

ks.

Pridať do sledovaných

Uchwyt montażowy typu L do drzwi przesuwnych, wykonany z metalu, z otworami montażowymi. Produkt ma prostokątny kształt z wygięciem pod kątem prostym.

na sklade Dodanie 24/48h

L-typ montážny držiak pre dvere otvárané von Scot BK-600DL2

  • Montáž prepojky EL-600DSL2

30,32 €

ks.

Pridať do sledovaných

Zwora elektromagnetyczna 750kg z sygnalizacją Scot EL-1500SL przedstawiona na zdjęciu to solidne urządzenie zabezpieczające drzwi, wyposażone w funkcję sygnalizacji. Produkt charakteryzuje się wytrzymałą konstrukcją i nowoczesnym designem, idealnym do zastosowań w systemach kontroli dostępu.

na sklade Dodanie 24/48h

Elektromagnetická závora 750kg so signalizáciou Scot EL-1500SL

  • Povrchová montáž
  • Signalizácia - kontakt NO/NC
  • Informačná LED dióda
  • Napájanie 12V / 24V DC

175,05 €

ks.

Pridať do sledovaných

Zwora elektromagnetyczna wpuszczana 280kg z sygnalizacją Scot EL-600MS przedstawiona na zdjęciu to solidne urządzenie do zabezpieczania drzwi. Produkt charakteryzuje się wysoką wytrzymałością i funkcją sygnalizacji.

Dočasne nedostupné

Elektromagnetický závor vložený 280kg so signalizáciou Scot EL-600MS

  • Maximálne zaťaženie dverí 280 kg
  • Montáž vo vnútri rámu dverí
  • Signalizácia - kontakt NO/NC
  • Napájanie 12V / 24V DC

74,89 €

ks.

Chýba produkt

Pridať do sledovaných

Elektrozámok ŁUCZNIK 1420RFT 12-24V AC/DC s vypínačom

na sklade Dodanie 24h

Elektrozámok ŁUCZNIK 1420RFT 12-24V AC/DC s vypínačom

  • Univerzálny (ľavý/pravý)
  • Symetrický
  • Aversný NC
  • Nízka spotreba energie
  • Životnosť: 200 000 cyklov

24,58 €

ks.

Pridať do sledovaných

Rýchla online kalkulácia

Využite naše kalkulačky pre cenovú kalkuláciu. Vyplňte formulár - naši konzultanti pripravia špecifickú ponuku


Naše odporúčania